Прецизионный коммутатор для национального эталона по напряжению с защитой от неправильной коммутации
- двухуровневая система защиты;
- Кол-во входных каналов – 3;
- Кол-во входных каналов – 6;
- Сопротивление замкнутых контактов – менее 0,25 Ом*
- Сопротивление разомкнутых контактов - 1012 Ом
- термоЭДС - менее 0,5 мкВ*
- Управление – USB;
- Возможность использование в составе автоматизированного рабочего места UniTesS APМ
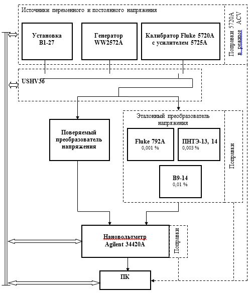
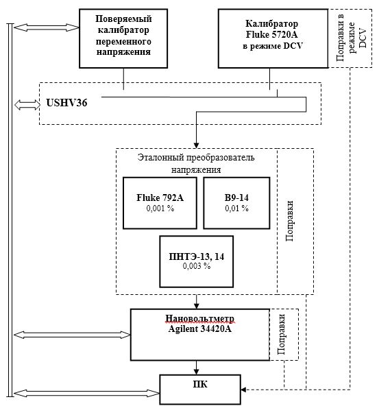
Коммутатор UniTesS Switch USHV36 разработан специально для совместного использования с эталоном напряжения и применяется в случаях, когда требуется обеспечить высоконадежную коммутацию высоких напряжений. Существует класс измерительных устройств с очень чувствительными входами и при неправильной коммутации цепей (сбой в работе ПО), оборудование может выйти из строя. Учитывая потенциальную опасность применения электронных управляемых коммутаторов совместно с дорогостоящим оборудованием, нами были разработаны алгоритмы и приемы двухконтурного подтверждения включения коммутативных элементов.
USHV36 имеет 6 входов, 3 выхода и выполнен по следующей схеме:

USHV36 содержит 8 реле. Одновременно к выходным разъемам может быть подключен только один вход. Выходы 1,2 и 3 могут быть подключены одновременно.
USHV36 использует два режима управления: ручной (с передней панели) и автоматический
(по USB). В любом режиме работы, включая отказ, сбой в работе USHV36 или ошибку в управлении USHV36, гальваническая связь с выходом 2 более одной входной цепи исключена.
Переключение реле происходит с задержкой не более 1 мс. Электрические соединения сигнальных цепей осуществляется способом, обеспечивающим минимальную контактную термоЭДС. Контактная термоЭДС коммутирующих элементов и каждого электрического соединения в сигнальных цепях не превышает 0,5 мкВ (Характеристики могут быть значительно улучшены при подборе реле: ТЭДС менее 0,15 мкВ и сопротивление менее 0,1 Ом).
Электрическое сопротивление контактов в замкнутом состоянии не более 0,25 Ом*, в разомкнутом состоянии не менее 1012 Ом. Максимальная коммутируемая мощность не более 10 Вт. Изоляция USHV36 выдерживает напряжение 1 кВ частотой 50 Гц.
Допускается коммутация без повреждения контактов при приложенном напряжении не более 500 В. Данный режим резко уменьшает ресурс реле и приводит к деградации параметров. Сигналы управления передаются в коммутационный отсек через фильтрующие элементы.
Срок службы USHV36 не менее 10 лет; минимальное число коммутаций в нормальных условиях без приложенного напряжения 107.
За счет использования двухуровневой системы защиты, программно-аппаратное обеспечение USHV36 полностью исключает возможность ошибочных срабатываний в любых режимах работы.
Чтобы предупредить ошибочное срабатывание, USHV36 разработан на базе двух процессоров. При поступлении команды на переключение входных каналов контрольный процессор выключает питание реле. Исполнительный процессор детектирует выключение питания и через буфер устанавливает напряжения на включение реле в соответствии с поступившей командой. Используя 8-и канальный АЦП, контрольный процессор проверяет правильность установления напряжений и включает реле.
В случае детектирования ошибок загорается индикатор ошибки, раздаётся непрерывный звуковой сигнал, а USHV36 выключается. USHV36 содержит подсистему имитации ложного срабатывания для тестирования системы защиты.
Вам необходим другой коммутатор? Мы спроектируем и изготовим в кратчайшие сроки!
Важнейшие преимущества:
- на 30% дешевле любых зарубежных аналогов;
- цена зависит только от технических характеристик приборов;
- возможность быстрой разработки по индивидуальным требованиям заказчика;
- срок исполнения заказа не больше 3-х месяцев и сопоставим со сроками поставки зарубежного аналога;
- ручное и программное управление по шине USB;
- приборы сертифицированы;
- гарантия производителя 1 год.











